Resident Evil: The Darkside Chronicles/Nintendo Zapper bundle pack dated for Europe
Posted on 16 years ago by Brian(@NE_Brian) in News, Wii | 4 Comments
Resident Evil: The Darkside Chronicles will be releasing in Europe on November 27th, and consumers will also be able to purchase the Nintendo Zapper bundle pack (see above).
Tons of art/screenshots for Level-5 games
Posted on 16 years ago by Brian(@NE_Brian) in DS, News, Wii | 0 comments
Screenshots/art in order from bottom to top: Professor Layton and the Devil’s Flute, Inazuma Eleven 2, Sloane and McHale’s Mysteries, Akira Tago’s Atama no Taisou 3rd Collection Mystery Kingdom Puzzle Solving Fairy Tails, Atama no Taisou 4th Collection Time Machine Puzzle Solving Adventure
Harvest Moon: Frantic Farming ripe for the picking at retail
Posted on 16 years ago by Brian(@NE_Brian) in DS, News | 0 comments
Burlingame, Calif., August 25, 2009 – Natsume Inc., a worldwide developer and publisher of family-oriented video games, announced today that Harvest Moon: Frantic Farming has officially shipped to retail. Harvest Moon: Frantic Farming is rated E for everyone by the Entertainment Software Rating Board (ESRB), and is available for $29.99 at video game retailers everywhere. Set in the world of last year’s DS hit Harvest Moon: Island of Happiness, Harvest Moon: Frantic Farming continues the tale of the island and its residents.
“We are excited to bring this all-new, totally unique puzzle game to the Nintendo DS,” said Hiro Maekawa, President and CEO at Natsume. “We know that players will enjoy the wide variety of gameplay modes, playable characters, and fun unlockables that we have planted in this all-new adventure!”
First screenshots of London Life
Posted on 16 years ago by Brian(@NE_Brian) in DS, News | 0 comments
New Sakura game announced in Famitsu, first scan
Posted on 16 years ago by Brian(@NE_Brian) in DS, News | 0 comments
In the latest edition of Famitsu, the first details and images were revealed for a brand new Sakura game. The title will be called Sakura Note and will be releasing for the DS. There isn’t any gameplay information to speak of yet, but the story involves a boy saving a girl and sakura tree by adventuring and interacting with ghosts and demons. There’s also a partial staff list available, which you can check out below.
Music – Nobou Uematsu (vocal songs from FFXII and Lost Odyssey)
Scenario – Kazushige Nojima (scenario writer of FFVIII and Glory of Heracles DS)
Visuals – Hideo Minaba (art director of FFIX and ASH)
Game Design – Akira Ueda (director of Contact)
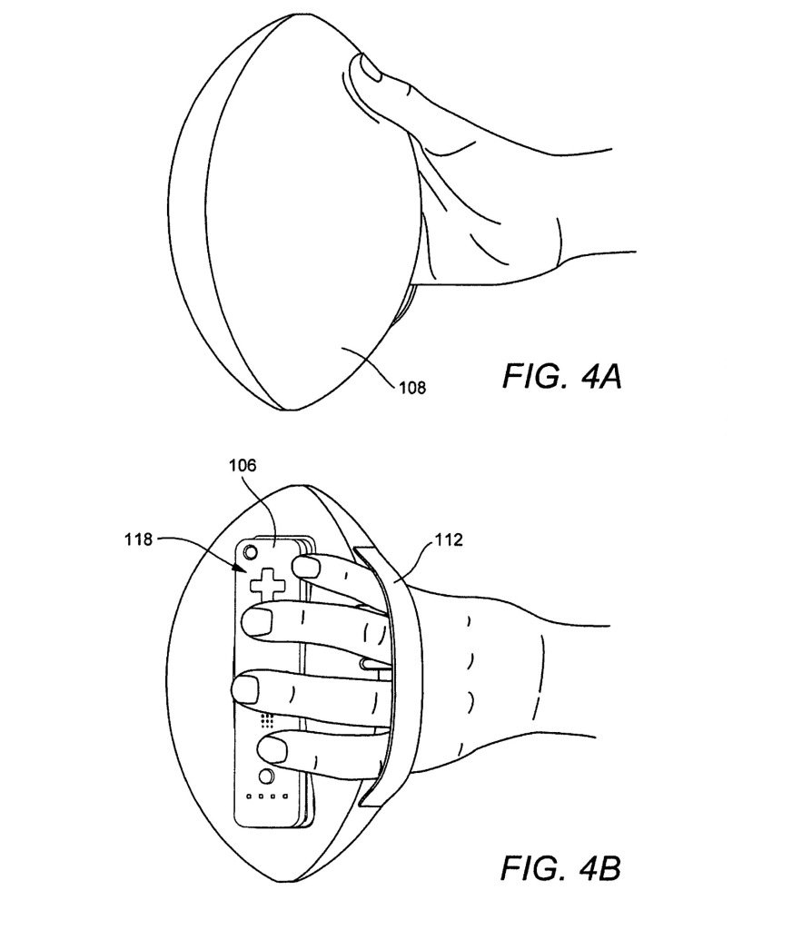
Here’s another Wii controller patent from Nintendo
Posted on 16 years ago by Brian(@NE_Brian) in News, Wii | 2 Comments
In the past, we’ve seen some pretty odd patents from Nintendo. There was one focusing on education, another one for horseback riding, and most recently, a bicycle pedal add-on. Now Nintendo of America is getting in on the action with a new football controller. There are a number of different designs pictured in the photos above. One image shows that the football peripheral can be used with both the Wii controller and nunchuck while another would only allow use of just the Wiimote.
Final Fantasy Gaiden: Four Warriors of Light details
Posted on 16 years ago by Brian(@NE_Brian) in DS, News | 0 comments
– Need to use stock command to store AP before you can use Fira
– AP can help you use spells, activate commands
– Dark casting = 1 AP, Darkra = 2AP, Darkga = 3 AP
– AP doesn’t disappear after a battle
– Can assign 6 commands for the touch screen (doesn’t include fight, store, item)
Ni no Kuni screenshots
Posted on 16 years ago by Brian(@NE_Brian) in General Nintendo, News | 2 Comments
Wii Sports Resort Tops 1 Million in U.S. Sales
Posted on 16 years ago by Brian(@NE_Brian) in News, Wii | 0 comments
REDMOND, Wash.–(BUSINESS WIRE)– According to Nintendo’s internal tracking figures, sales of the Wii Sports Resort™ game have surpassed 1 million copies in the United States since its July 26 launch. Japan and Europe have also sold more than 1 million copies each since the title launched in their respective markets. The collection of 12 resort-themed sports activities is on its way to becoming another Nintendo “long-tail” title that sells steadily over an extended period of time as opposed to a single flash on its launch day.
“Millions of consumers worldwide have demonstrated that they want their summer vacations to keep going,” said Cammie Dunaway, Nintendo of America’s executive vice president of Sales & Marketing. “Wii Sports Resort provides both novice and veteran players a fun, virtual escape to a resort island with their friends and family – something that will be even more appealing as the weather turns cooler this fall and winter.”




























































































