As part of a No More Heroes 2: Desperate Struggle t-shirt design contest, Ubisoft has given North American gamers a more specific date as to when the game will be releasing. We’re still waiting for an exact date, but Ubisoft stated in a press release that the title is on schedule to come out in January 2010.
“No More Heroes 2: Desperate Struggle continues the tale of punk anti-hero Travis Touchdown, the Japanese anime Otaku, and pro wrestling-obsessed assassin. Travis finds himself at the bottom of the UAA (United Assassins Association) rankings and must wage war to exact revenge and become the No. 1 assassin once again. The follow-up to the popular No More Heroes will offer fans infectious, fun gameplay that allows you to wield not just one, but two swords and face multiple bosses simultaneously in bigger-than-ever boss battles. No More Heroes 2: Desperate Struggle is scheduled to release January 2010 exclusively for the Nintendo Wii system. For more details, please visit: www.nomoreheroesgame.com.”
For those interested, details regarding the No More Heroes 2 contest can be found here.
Screenshots/art in order from bottom to top: Professor Layton and the Devil’s Flute, Inazuma Eleven 2, Sloane and McHale’s Mysteries, Akira Tago’s Atama no Taisou 3rd Collection Mystery Kingdom Puzzle Solving Fairy Tails, Atama no Taisou 4th Collection Time Machine Puzzle Solving Adventure
Burlingame, Calif., August 25, 2009 – Natsume Inc., a worldwide developer and publisher of family-oriented video games, announced today that Harvest Moon: Frantic Farming has officially shipped to retail. Harvest Moon: Frantic Farming is rated E for everyone by the Entertainment Software Rating Board (ESRB), and is available for $29.99 at video game retailers everywhere. Set in the world of last year’s DS hit Harvest Moon: Island of Happiness, Harvest Moon: Frantic Farming continues the tale of the island and its residents.
“We are excited to bring this all-new, totally unique puzzle game to the Nintendo DS,” said Hiro Maekawa, President and CEO at Natsume. “We know that players will enjoy the wide variety of gameplay modes, playable characters, and fun unlockables that we have planted in this all-new adventure!”
In the latest edition of Famitsu, the first details and images were revealed for a brand new Sakura game. The title will be called Sakura Note and will be releasing for the DS. There isn’t any gameplay information to speak of yet, but the story involves a boy saving a girl and sakura tree by adventuring and interacting with ghosts and demons. There’s also a partial staff list available, which you can check out below.
Music – Nobou Uematsu (vocal songs from FFXII and Lost Odyssey)
Scenario – Kazushige Nojima (scenario writer of FFVIII and Glory of Heracles DS)
Visuals – Hideo Minaba (art director of FFIX and ASH)
Game Design – Akira Ueda (director of Contact)
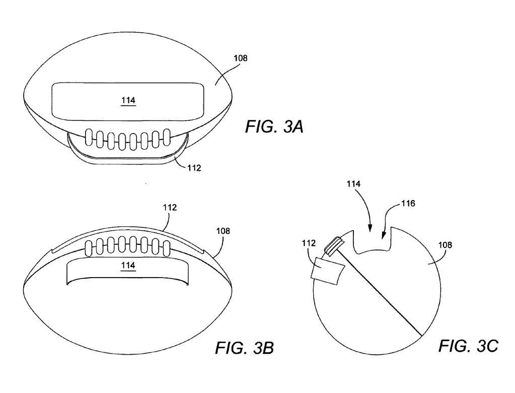
In the past, we’ve seen some pretty odd patents from Nintendo. There was one focusing on education, another one for horseback riding, and most recently, a bicycle pedal add-on. Now Nintendo of America is getting in on the action with a new football controller. There are a number of different designs pictured in the photos above. One image shows that the football peripheral can be used with both the Wii controller and nunchuck while another would only allow use of just the Wiimote.
– Need to use stock command to store AP before you can use Fira
– AP can help you use spells, activate commands
– Dark casting = 1 AP, Darkra = 2AP, Darkga = 3 AP
– AP doesn’t disappear after a battle
– Can assign 6 commands for the touch screen (doesn’t include fight, store, item)




























































































